О живописи порошковой краской
Одним из параметров работы порошкового окрасочного оборудования является размер облака распыления. Сам термин «облако» изначально предполагает широкий охват окрашиваемой поверхности и высокую производительность при работе с большими площадями.
Изобретатель из США Иван Пейович зарегистрировал в ноябре 2023 г. патент на порошковый трибостатический, фактически, аэрограф. То есть инструмент, позволяющий, по мнению автора, производить порошковыми красками гораздо более мелкие и деликатные окрасочные работы.
Обычные пистолеты-распылители имеют очень длинные сопла — 20-30 сантиметров. Эта длина нужна, чтобы внутри сопла были специальные нарезки (как в ружье), которые закручивают поток краски в вихрь. Вихрь нужен для того, чтобы краска лучше заряжалась и ровнее ложилась.
Из-за этой длинной и громоздкой конструкции невозможно аккуратно покрасить маленькую деталь. Краска часто летит мимо, расход огромный, а качество страдает. По мнению И. Пейовича нужна была компактная насадка, которая сможет создавать более направленный вихрь, но будучи сама очень маленькой.
Иван Пейович придумал геометрию насадки, которая позволяет закручивать поток краски не за счёт длинного ствола с нарезкой, а за счет специального расположения выходных отверстий на коротком расстоянии.

Представьте себе небольшую «втулку» или цилиндрик (всего около 3 см в диаметре), который накручивается на ствол окрасочного порошкового пистолета. Внутри у него хитро устроенная камера и особые отверстия. Когда краска проходит через них, она сама собой закручивается в вихрь прямо на выходе.
Как устроена эта насадка — анатомия изобретения
Чтобы было понятно, давайте разберем всё по чертежам, прилагаемым к патенту тов. И. Пейовича (рис. 1-4).

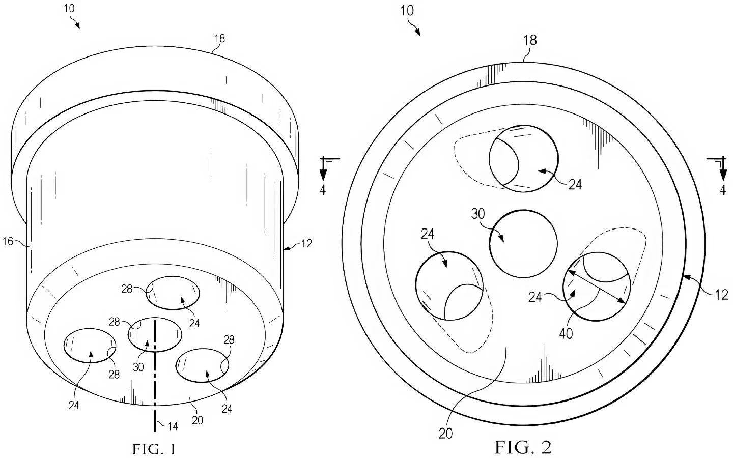
Корпус (№12): Это сам корпус насадки. Самая важная деталь — он выполнен фторопласта (PTFE, тефлон), который обладает трибоэлектрическим эффектом. Это значит, что когда частицы краски трутся о стенки этого корпуса, они получают электрический заряд. Заряженные частицы лучше прилипают к заземленной детали. Меньше краски летит мимо окрашиваемой детали.

Внутренняя камера (№22): Внутри корпуса есть полость. Она сделана в форме полусферы (как пиала). В этой камере краска перемешивается и дополнительно заряжается трением о стенки.
Выходные отверстия (дно насадки): Вот тут самое интересное. На дне насадки есть два типа отверстий:
- Центральное отверстие (№30): Одно отверстие ровно по центру. Из него выходит прямой, концентрированный поток краски.
- Вихревые отверстия (№24): Вокруг центра расположены дополнительные отверстия (обычно 3 штуки). Они просверлены под углом (№26) к центральной оси. Когда краска вылетает из этих наклонных отверстий, она и создает тот самый закрученный вихрь вокруг центральной струи.
Фаски (№28): На выходе из отверстий сделаны небольшие конусные расширения (фаски). Они помогают воздуху и краске плавнее выходить и лучше закручиваться.
Цифры и размеры — насколько это компактно?
Автор патента приводит конкретные размеры своего изделия, чтобы показать, насколько его насадка миниатюрна:
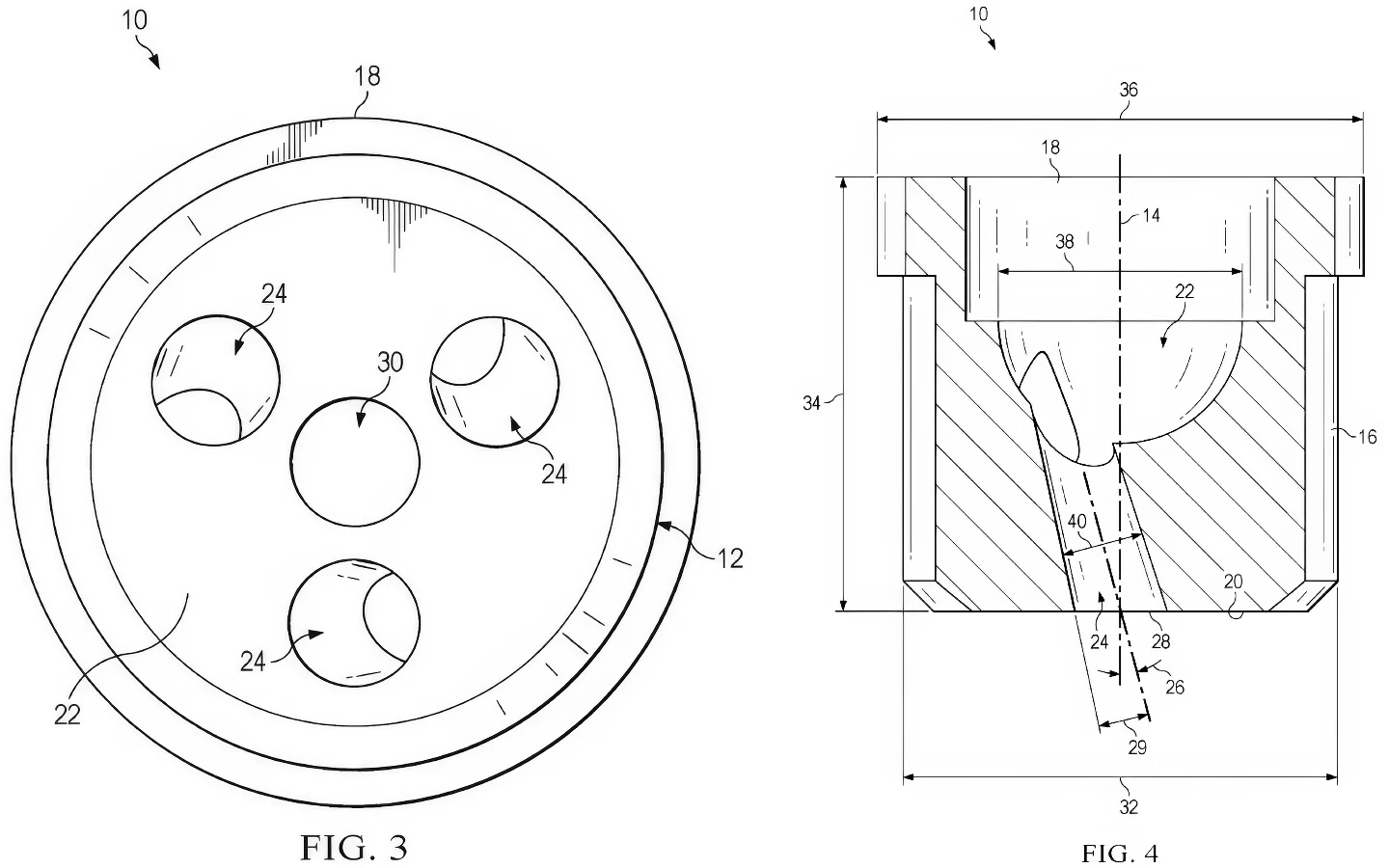
- Диаметр корпуса: 28 мм (меньше 6 см).
- Высота корпуса: 28 мм.
- Диаметр внутренней камеры: 22 мм.
- Диаметр отверстий: 6 мм.
Как это работает — физика процесса
Краска попадает в насадку. Проходя через внутреннюю полусферическую камеру (№22), частицы краски трутся о стенки из тефлона и получают положительный заряд (трибостатика).
Далее порошковая краска попадает в отверстия.
Струя из центрального отверстия (№30) летит прямо.
Струи из боковых отверстий (№24), которые направлены под углом 15 градусов (или от 7.5 до 75 градусов), начинают вращаться вокруг центральной струи.
В результате на выходе из насадки формируется плотный, закрученный факел. Закрученный поток летит более кучно и меньше разбрасывает краску по сторонам.
Какие от этого преимущества?
В тексте патента И.Пейовича прямо говорится о результатах тестов:
- Экономия краски: Расход краски снижается на 20-30%. Меньше улетает в воздух, больше попадает на деталь.
- Эффективность: Можно красить мелкие детали там, где раньше приходилось либо ставить громоздкие установки, либо мириться с потерями.
- Качество: Заряженный вихревой поток обеспечивает более равномерное нанесение.
От себя замечу, что, возможно, тов. И.Пейович, не до конца сам понимает возможности и сферы применения своего изобретения. Если его насадка в самом деле преобразит трибостатический распылитель в порошковый аэрограф, то к её преимуществам скоро отнесут:
- выполнение тонких, аккуратных, почти ювелирных задач
- прорисовка мелких деталей, текстур, бликов
- плавные градиенты на маленькой площади
- работа с художественными элементами: портреты, иллюстрации, орнаменты
- контроль за шириной линии: от тонких до мягких широких
Выводы:
Обычный пистолет для порошковой краски длинный и неудобный для работы с мелкими деталями. В описанном выше изобретении взяли короткую насадку из тефлона, сделали внутри нее круглую камеру, а на дне просверлили одно прямое отверстие по центру и три отверстия вокруг него под углом.
Порошковая краска трётся о тефлон, заряжается, проходит через отверстия, и наклонные струи закручивают весь поток порошка в направленный вихрь. В результате получается компактное устройство, которое отлично красит мелочёвку, расходуя на треть меньше краски. И, как можно предположить, развязывающее руки и фантазию настоящим художникам порошковой окраски.
По материалам зарубежной печати

Выпуск подготовил
Болдырев Андрей Анатольевич
